CAIU NO ENEM!
CAIU NO VESTIBULAR!
2018
- a) 1, repulsiva
- b) 3, atrativa
- c) 12, atrativa
- d) a resultante das forças será nula, portanto, não haverá interação entre elas.
- a) entrando, saindo e entrando.
- b) entrando, saindo e saindo.
- c) saindo, saindo e entrando.
- d) entrando, entrando e entrando.
- e) saindo, entrando e saindo.
2017
(FORÇA MAGNÉTICA SOBRE CARGAS) D (MACKENZIE 2017) Uma partícula eletrizada positivamente, de massa desprezível, penetra na região do espaço onde existe um campo elétrico uniforme de intensidade 1,0.105 N/C, orientado verticalmente para baixo, conforme a figura abaixo. A partícula descreve uma trajetória retilínea, pela presença de um campo magnético uniforme B, de intensidade 4,0.103 T, perpendicular ao campo elétrico e de sentido entrando no plano do papel. A intensidade da velocidade da partícula é, em m/s,
- a) 40
- b) 35
- c) 30
- d) 25
- e) 20
(FORÇA MAGNÉTICA SOBRE CARGAS) A (UDESC 2017) Um campo magnético uniforme está entrando no plano da página. Uma partícula carregada move-se neste plano em uma trajetória em espiral, no sentido horário e com raio decrescente, como mostra a figura.

Assinale a alternativa correta para o comportamento observado na trajetória da partícula.
- a) A carga é negativa e sua velocidade está diminuindo.
- b) A carga é positiva e sua velocidade está diminuindo.
- c) A carga é positiva e sua velocidade está aumentando.
- d) A carga é negativa e sua velocidade está aumentando.
- e) A carga é neutra e sua velocidade é constante.
(FORÇA MAGNÉTICA ENTRE FIOS) D (FACULDADE DE MEDICINA ALBERT EINSTEIN 2017) Determine o valor da força magnética, em newtons, entre dois fios metálicos cilíndricos, de mesma resistividade elétrica, retilíneos, paralelos, de comprimentos iguais a 100 cm, distanciados em 10 cm e com raios de 1 mm e 2 mm, quando cada um deles for ligado a uma fonte de corrente contínua de diferença de potencial igual a 2,0 V.
Adote: ρ = 24 nΩ.m (resistividade elétrica do metal dos fios)
• permeabilidade magnética do meio: μ = 4 . π . 10–7 T.m/A
- a) 0,2
- b) 0,3
- c) 0,4
- d) 0,5
2016
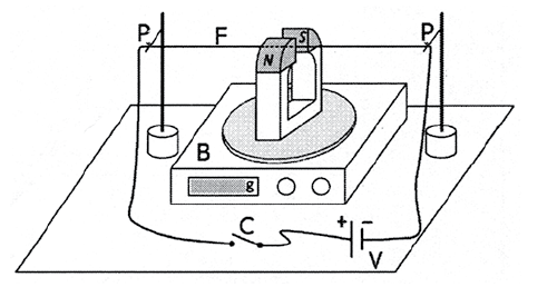
D (UFRGS 2016) No esquema da figura abaixo, o fio F, horizontalmente suspenso e fixo nos pontos de suporte P, passa entre os polos de um ímã, em que o campo magnético é suposto horizontal · e uniforme. O ímã, por sua vez, repousa sobre uma balança B, que registra seu peso.
Assinale a alternativa que preenche corretamente as lacunas do enunciado abaixo, na ordem em que aparecem.
Em dado instante, a chave C é fechada, e uma corrente elétrica circula pelo fio. O fio sofre uma força vertical, …….., e o registro na balança …….. .
- a) para baixo –não se altera.
- b) para baixo –aumenta.
- c) para baixo –diminui.
- d) para cima –aumenta.
- e) para cima –diminui.
D (UDESC 2016) Observe o extrato a seguir do conto “Tempestade Solar” do escritor Ítalo Calvino.
“O Sol está sujeito a contínuas perturbações internas de sua matéria gasosa e incandescente, que se manifestam em perturbações visíveis na superfície: protuberâncias estourando como bolhas, manchas de luminosidade atenuada, intensas cintilações das quais se erguem no espaço jatos repentinos. Quando uma nuvem de gás eletrizado emitido no espaço pelo Sol investe a Terra atravessando as faixas de Van Allen, registram-se tempestades magnéticas e auroras boreais”
(Ítalo Calvino em Todas as Cosmicômicas – Companhia das Letras, 2007, 1 ed., p. 318).
Esse trecho relata fenômenos que afetam diretamente o mundo atual. Diariamente uma “chuva de partículas” proveniente do Sol bombardeia o planeta Terra. Caso essas partículas chegassem à superfície terrestre, ocorreriam diversos problemas de saúde. Felizmente, o campo magnético do nosso planeta oferece uma proteção natural contra essas partículas, defletindo-as antes de chegarem à superfície. Por outro lado, quando o Sol tem picos de atividade, em períodos de aproximadamente 11 anos, esses ventos solares penetram mais na atmosfera prejudicando seriamente os sistemas de comunicação via satélite e os sistemas de GPS. Esse fenômeno afeta em particular o Brasil, onde se encontra a Anomalia Magnética do Atlântico Sul, na qual há a redução da intensidade do campo magnético terrestre.
Analise as proposições sobre a ação do campo magnético terrestre para defletir as partículas carregadas da superfície do planeta Terra.
I. A força magnética atua sempre perpendicularmente ao plano definido pelos vetores velocidade e campo magnético terrestre.
II. A força magnética varia o módulo da velocidade e a sua direção, desviando as partículas para os polos terrestres.
III. No caso do Brasil, o raio da trajetória das partículas é maior que nos países que se encontram fora da Anomalia Magnética do Atlântico Sul, pois o campo magnético é menos intenso.
IV. O raio da trajetória da partícula é diretamente proporcional ao campo magnético terrestre e inversamente proporcional à sua velocidade.
Assinale a alternativa correta.
- a) Somente as afirmativas I e II são verdadeiras.
- b) Somente as afirmativas II e III são verdadeiras.
- c) Somente as afirmativas III e IV são verdadeiras.
- d) Somente as afirmativas I e III são verdadeiras.
- e) Somente as afirmativas II e IV são verdadeiras.
A (UDESC 2016) Um elétron com velocidade v se movimenta na presença de um campo magnético B, conforme mostra a figura, saindo do plano do papel.
Considerando a magnitude da velocidade do elétron igual a um décimo da velocidade da luz, e a magnitude do campo magnético igual a 1,0 T, o raio da órbita circular desse elétron é, aproximadamente, igual a:
- a) 1,7 × 10-4 m.
- b) 1,7 × 10-3 m.
- c) 1,7 × 10-2 m.
- d) 1,0 × 10-4 m.
- e) 1,0 × 10-3 m.
2014
E (FUVEST 2014) Partículas com carga elétrica positiva penetram em uma câmara em vácuo, onde há, em todo seu interior, um campo elétrico de módulo E e um campo magnético de módulo B, ambos uniformes e constantes, perpendiculares entre si, nas direções e sentidos indicados na figura. As partículas entram na câmara com velocidades perpendiculares aos campos e de módulos v1 (grupo 1), v2 (grupo 2) e v3 (grupo 3). As partículas do grupo 1 têm sua trajetória encurvada em um sentido, as do grupo 2, em sentido oposto, e as do grupo 3 não têm sua trajetória desviada. A situação está ilustrada na figura abaixo.
Considere as seguintes afirmações sobre as velocidades das partículas de cada grupo:
I. v1 > v2 e v1 > E/B
II. v1 < v2 e v1 < E/B
III. v3 = E/B
Está correto apenas o que se afirma em
- a) I
- b) II
- c) III
- d) I e III
- e) II e III
D (UFPR 2014) O espectrômetro de massa é um equipamento utilizado para se estudar a composição de um material. A figura abaixo ilustra diferentes partículas de uma mesma amostra sendo injetadas por uma abertura no ponto O de uma câmara a vácuo.
Essas partículas possuem mesma velocidade inicial v paralela ao plano da página e com o sentido indicado no desenho. No interior desta câmara há um campo magnético uniforme B perpendicular à velocidade v cujas linhas de campo são perpendiculares ao plano da página e saindo desta, conforme representado no desenho com o símbolo
. As partículas descrevem então trajetórias circulares identificadas por I, II, III e IV.
Considerando as informações acima e os conceitos de eletricidade e magnetismo, identifique como verdadeiras (V) ou falsas (F) as seguintes afirmativas:
( ) A partícula da trajetória II possui carga positiva e a da trajetória IV possui carga negativa.
( ) Supondo que todas as partículas tenham mesma carga, a da trajetória II tem maior massa que a da trajetória I.
( ) Supondo que todas as partículas tenham mesma massa, a da trajetória III tem maior carga que a da trajetória II.
( ) Se o módulo do campo magnético B fosse aumentado, todas as trajetórias teriam um raio maior.
Assinale a alternativa que apresenta a sequência correta, de cima para baixo.
- a) V – V – V – F.
- b) F – V – F – V.
- c) V – F – V – V.
- d) V – V – F – F.
- e) F – F – V – V.
D (UDESC 2014) Uma partícula, de massa m = 5,0 x 10-18 kg e carga q = 8,0 x 10-6 C penetra perpendicularmente em um campo magnético uniforme, com velocidade constante de módulo v = 4,0 x 106 m/s passando a descrever uma órbita circular de raio r = 5,0 x 103 cm desprezando o efeito do campo gravitacional. O módulo do campo magnético a que a partícula está submetida é igual a:
- a) 4,0 x 10-4 T
- b) 0,5 x 10-8 T
- c) 2,0 x 10-6 T
- d) 5,0 x 10-8 T
- e) 5,0 x 10-7 T
E (UDESC 2014) Assinale a alternativa incorreta a respeito de fenômenos eletromagnéticos.
- a) Fios condutores paralelos e percorridos por correntes elétricas de mesmo sentido atraem-se, enquanto os de sentidos opostos repelem-se.
- b) Uma corrente elétrica é induzida em um circuito sempre que há uma variação do fluxo magnético.
- c) Um condutor percorrido por uma corrente elétrica, colocado em um campo magnético, sofre a ação de uma força exercida por este campo.
- d) Não é possível separar os pólos magnéticos de um ímã permanente, em forma de barra, quebrando-o.
- e) Cargas elétricas em repouso ou em movimento produzem um campo elétrico e um campo magnético.
C (CEFET MG 2014) Um objeto de relação carga-massa igual a 4,0 x 10-3 C/kg desloca-se a 0,25 m/s em um plano horizontal com movimento circular uniforme sob ação de um campo magnético de 100 T perpendicular ao plano. A aceleração desse objeto vale, em m/s2,
- a) 0,0010.
- b) 0,010.
- c) 0,10.
- d) 1,0.
- e) 10
(UFPR 2014) Uma partícula de massa m e carga q, inicialmente se deslocando com velocidade penetra numa região onde há um campo magnético uniforme de módulo B e direção perpendicular à velocidade Na presença desse campo magnético, a trajetória da partícula é uma circunferência. Com base nessas informações e nos conceitos de eletricidade e magnetismo, deduza equações literais envolvendo as variáveis dadas, para:
- a) o raio da circunferência descrita pela partícula.
- b) o tempo que a partícula leva para percorrer metade da distância desta trajetória circular.
C (PUC RS 2014) Um seletor de velocidades é utilizado para separar partículas de uma determinada velocidade. Para partículas com carga elétrica, um dispositivo deste tipo pode ser construído utilizando um campo magnético e um campo elétrico perpendiculares entre si. Os valores desses campos podem ser ajustados de modo que as partículas que têm a velocidade desejada atravessam a região de atuação dos campos sem serem desviadas.
Deseja-se utilizar um dispositivo desse tipo para selecionar prótons que tenham a velocidade de 3,0 x 104 m/s. Para tal, um feixe de prótons é lançado na região demarcada pelo retângulo em que existe um campo magnético de 2,0 x 10-3 T perpendicular à página e nela entrando, como mostra a figura a seguir.
Nessas condições, o módulo e a orientação do campo elétrico aplicado na região demarcada, que permitirá selecionar os prótons com a velocidade desejada, é
- a) 60 V/m – perpendicular ao plano da página – apontando para fora da página
- b) 60 V/m – perpendicular ao plano da página – apontando para dentro da página
- c) 60 V/m – no plano da página – apontando para baixo
- d) 0,15 V/m – no plano da página – apontando para cima
- e) 0,15 V/m – no plano da página – apontando para baixo
2013
B (ESPCEX (AMAN) 2013) Partículas com grande velocidade, provenientes do espaço, atingem todos os dias o nosso planeta e algumas delas interagem com o campo magnético terrestre. Considere que duas partículas A e B, com cargas elétricas QA > 0 e QB < 0 atingem a Terra em um mesmo ponto com velocidades, vA = vB perpendiculares ao vetor campo magnético local. Na situação exposta, podemos afirmar que
- a) a direção da velocidade das partículas A e B não irá se alterar.
- b) a força magnética sobre A terá sentido contrário à força magnética sobre B.
- c) a força magnética que atuará em cada partícula terá sentido contrário ao do seu respectivo vetor velocidade.
- d) a força magnética que atuará em cada partícula terá o mesmo sentido do vetor campo magnético local.
- e) a direção da velocidade das partículas A e B é a mesma do seu respectivo vetor força magnética.
(UFPE 2013) Uma partícula de massa m e carga q ingressa, com velocidade horizontal de módulo v = 1500 km/s na extremidade superior esquerda da região acinzentada quadrada de lado L = 1 mm (ver figura). Nesta região acinzentada existe um campo magnético uniforme, de módulo B = 2 T e direção perpendicular à velocidade inicial da partícula e ao plano da página. A partícula deixa a região acinzentada quadrada na extremidade inferior direita. Considere apenas a força magnética atuando na partícula. Quanto vale a razão q/m (em C/kg) dividida por 107?
C (UEG 2013) O Sol emite uma grande quantidade de partículas radioativas a todo instante. O nosso planeta é bombardeado por elas, porém essas partículas não penetram em nossa atmosfera por causa do campo magnético terrestre que nos protege. Esse fenômeno é visível nos polos e chama-se aurora boreal ou austral. Quando se observa um planeta por meio de um telescópio, e o fenômeno da aurora boreal é visível nele, esta observação nos garante que o planeta observado
- a) está fora do Sistema Solar.
- b) não possui atmosfera.
- c) possui campo magnético.
- d) possui uma extensa camada de ozônio.
(UNESP 2013) Um feixe é formado por íons de massa m1 e íons de massa m2, com cargas elétricas q1 e q2, respectivamente, de mesmo módulo e de sinais opostos. O feixe penetra com velocidade v por uma fenda F, em uma região onde atua um campo magnético uniforme B cujas linhas de campo emergem na vertical perpendicularmente ao plano que contém a figura e com sentido para fora. Depois de atravessarem a região por trajetórias tracejadas circulares de raios R1 e R2 = 2.R1 desviados pelas forças magnéticas que atuam sobre eles, os íons de massa m1 atingem a chapa fotográfica C1 e os de massa m2 a chapa C2.
Considere que a intensidade da força magnética que atua sobre uma partícula de carga q, movendo-se com velocidade v, perpendicularmente a um campo magnético uniforme de módulo B, é dada por FMAG = |q|.v.B
Indique e justifique sobre qual chapa, C1 ou C2, incidiram os íons de carga positiva e os de carga negativa.
Calcule a relação m1/m2 entre as massas desses íons.
RESPOSTA: 1/2
2011
(IFTO 2011-2) A figura abaixo representa um campo magnético e uniforme de vetor constante, orientado perpendicularmente para fora do plano do papel. Uma partícula dotada de massa e carregada positivamente adentra neste campo como representado na figura.
Marque a alternativa que melhor representa a trajetória da partícula no campo magnético.
- a) II
- b) I
- c) V
- d) III
- e) IV
2009
D (UFRN 2009) Considerada como futura alternativa para geração de energia elétrica a partir da queima de biomassa, a geração magneto-hidrodinâmica utiliza um fluxo de gás ionizado (íons positivos e elétrons), que passa com velocidade,
, através de um campo magnético intenso,
.
A ação da força magnética desvia essas partículas para eletrodos metálicos distintos, gerando, entre eles, uma diferença de potencial elétrico capaz de alimentar um circuito externo.
O esquema abaixo mostra um gerador magneto-hidrodinâmico no qual estão identificados a direção do fluxo do gás, os pólos do imã gerador do campo magnético e quatro eletrodos coletores dos íons e dos elétrons.

Nessas condições, pode-se afirmar que os íons e os elétrons são desviados, respectivamente,
para os eletrodos
- a) IV e II.
- b) III e I.
- c) II e IV.
- d) I e III.
D (UNIFESP 2009) De posse de uma balança e de um dinamômetro (instrumento para medir forças), um estudante decide investigar a ação da força magnética de um ímã em forma de U sobre uma pequena barra de ferro. Inicialmente, distantes um do outro, o estudante coloca o ímã sobre uma balança e anota a indicação de sua massa. Em seguida, ainda distante do ímã, prende a barra ao dinamômetro e anota a indicação da força medida por ele.
Finalmente, monta o sistema de tal forma que a barra de ferro, presa ao dinamômetro, interaja magneticamente com o ímã, ainda sobre a balança, como mostra a figura.
A balança registra, agora, uma massa menor do que a registrada na situação anterior, e o dinamômetro registra uma força equivalente à
- a) força peso da barra.
- b) força magnética entre o ímã e a barra.
- c) soma da força peso da barra com metade do valor da força magnética entre o ímã e a barra.
- d) soma da força peso da barra com a força magnética entre o ímã e a barra.
- e) soma das forças peso da barra e magnética entre o ímã e a barra, menos a força elástica da mola do dinamômetro.









