CAIU NO ENEM!
C (ENEM 2011) O manual de funcionamento de um captador de guitarra elétrica apresenta o seguinte texto:
Esse captador comum consiste de uma bobina, fios condutores enrolados em torno de um ímã permanente. O campo magnético do ímã induz o ordenamento dos polos magnéticos na corda da guitarra, que está próxima a ele. Assim, quando a corda é tocada, as oscilações produzem variações, com o mesmo padrão, no fluxo magnético que atravessa a bobina. Isso induz uma corrente elétrica na bobina, que é transmitida até o amplificador e, daí, para o alto-falante.
Um guitarrista trocou as cordas originais de sua guitarra, que eram feitas de aço, por outras feitas de náilon. Com o uso dessas cordas, o amplificador ligado ao instrumento não emitia mais som, porque a corda de náilon
- a) isola a passagem de corrente elétrica da bobina para o alto-falante.
- b) varia seu comprimento mais intensamente do que ocorre com o aço.
- c) apresenta uma magnetização desprezível sob a ação do ímã permanente.
- d) induz correntes elétricas na bobina mais intensas que a capacidade do captador.
- e) oscila com uma frequência menor do que a que pode ser percebida pelo captador.
E (ENEM 2ª aplicação 2010) Os dínamos são geradores de energia elétrica utilizados em bicicletas para acender uma pequena lâmpada. Para isso, é necessário que a parte móvel esteja em contato com o pneu da bicicleta e, quando ela entra em movimento, é gerada energia elétrica para acender a lâmpada. Dentro desse gerador, encontram-se um imã e uma bobina.
O princípio de funcionamento desse equipamento é explicado pelo fato de que a
- a) corrente elétrica no circuito fechado gera um campo magnético nessa região.
- b) bobina imersa no campo magnético em circuito fechado gera uma corrente elétrica.
- c) bobina em atrito com o campo magnético no circuito fechado gera uma corrente elétrica.
- d) corrente elétrica é gerada em circuito fechado por causa da presença do campo magnético.
- e) corrente elétrica é gerada em circuito fechado quando há variação do campo magnético.
C (ENEM 2ª aplicação 2010) Há vários tipos de tratamentos de doenças cerebrais que requerem a estimulação de partes do cérebro por correntes elétricas. Os eletrodos são introduzidos no cérebro para gerar pequenas correntes em áreas específicas. Para se eliminar a necessidade de introduzir eletrodos no cérebro, uma alternativa é usar bobinas que, colocadas fora da cabeça, sejam capazes de induzir correntes elétricas no tecido cerebral.
Para que o tratamento de patologias cerebrais com bobinas seja realizado satisfatoriamente, é necessário que
- a) haja um grande número de espiras nas bobinas, o que diminui a voltagem induzida.
- b) o campo magnético criado pelas bobinas seja constante, de forma a haver indução eletromagnética.
- c) se observe que a intensidade das correntes induzidas depende da intensidade da corrente nas bobinas.
- d) a corrente nas bobinas seja contínua, para que o campo magnético possa ser de grande intensidade.
- e) o campo magnético dirija a corrente elétrica das bobinas para dentro do cérebro do paciente.
CAIU NO VESTIBULAR!
2018
C (FCMSCSP 2018) Uma espira metálica quadrada de lado L move-se com velocidade constante v e atravessa uma região de comprimento 3L onde atua um campo magnético constante B, perpendicular ao plano da figura e com sentido para dentro dela.
Considerando o sentido positivo para a corrente e o eixo x indicados na figura, o gráfico que representa a intensidade da corrente elétrica induzida na espira em função da posição (x) de seu lado vermelho é o indicado em
D (UFRGS 2018) A figura abaixo representa um experimento em que um ímã está sendo aproximado com velocidade V de uma bobina em repouso, ligada em série com um galvanômetro G.
A seguir, três variantes do mesmo experimento estão representadas nas figuras I, II e III.
Assinale a alternativa que indica corretamente as variantes que possuem corrente elétrica induzida igual àquela produzida no experimento original.
- a) Apenas I.
- b) Apenas II.
- c) Apenas III.
- d) Apenas I e II.
- e) I, II e III.
A (UERJ 2018) A corrente elétrica no enrolamento primário de um transformador corresponde a 10 A, enquanto no enrolamento secundário corresponde a 20 A. Sabendo que o enrolamento primário possui 1200 espiras, o número de espiras do enrolamento secundário é:
- a) 600
- b) 1200
- c) 2400
- d) 3600
2017
B (UFJF – PISM 3 2017) Um anel metálico cai verticalmente devido ao seu peso em uma região de campo magnético constante saindo perpendicularmente ao plano da folha, de acordo com a figura abaixo.
Assinale a alternativa CORRETA sobre a corrente induzida no anel.
- a) não existe corrente induzida no anel durante o percurso da queda, pois o campo é constante.
- b) a corrente induzida no anel é no sentido horário quando o anel entra na região do campo.
- c) a corrente induzida no anel é no sentido anti-horário quando o anel entra na região do campo.
- d) existe uma corrente induzida durante todo o instante de queda devido à variação da posição do anel em relação ao campo.
- e) existe uma corrente induzida somente quando o anel encontra-se totalmente imerso no campo.
C (UFRGS 2017) O observador, representado na figura, observa um ímã que se movimenta em sua direção com velocidade constante. No instante representado, o ímã encontra-se entre duas espiras condutoras, 1 e 2, também mostradas na figura.
Examinando as espiras, o observador percebe que
- a) existem correntes elétricas induzidas no sentido horário em ambas espiras.
- b) existem correntes elétricas induzidas no sentido anti-horário em ambas espiras.
- c) existem correntes elétricas induzidas no sentido horário na espira 1 e anti-horário na espira 2.
- d) existem correntes elétricas induzidas no sentido anti-horário na espira 1 e horário na espira 2.
- e) existe apenas corrente elétrica induzida na espira 1, no sentido horário.
D (EFOMM 2017) Um fio de resistência 5 Ω e 2,4 m de comprimento forma um quadrado de 60 cm de lado. Esse quadrado é inserido por completo, com velocidade constante, durante 0,90 segundos em um campo magnético constante de 10,0 T (de forma que a área do quadrado seja perpendicular às linhas do campo magnético). A intensidade de corrente que se forma no fio é i1.
Outro fio reto de 2,0 m de comprimento possui uma intensidade de corrente i2, quando imerso em um campo magnético constante de módulo 10,0 T. A força magnética que atua no fio possui módulo 8,0 N. A direção da força é perpendicular à do fio e à direção do campo magnético.
A razão entre os módulos de i1 e i2 é:
- a) 0,2
- b) 0,4
- c) 0,5
- d) 2,0
- e) 4,0
A (UDESC 2017) Uma corrente elétrica é induzida em um anel condutor que está no plano horizontal, e o sentido de circulação dos portadores de corrente é horário, quando vista de cima.
Com base nas informações, analise as proposições.
I. Um campo magnético constante aponta verticalmente para baixo.
II. Um campo magnético, cuja magnitude está aumentando, aponta verticalmente para cima.
III. Um campo magnético, cuja magnitude está aumentando, aponta verticalmente para baixo.
IV. Um campo magnético, cuja magnitude está diminuindo, aponta verticalmente para baixo.
V. Um campo magnético, cuja magnitude está diminuindo, aponta verticalmente para cima.
Assinale a alternativa correta.
- a) Somente as afirmativas II e IV são verdadeiras.
- b) Somente as afirmativas III e V são verdadeiras.
- c) Somente a afirmativa I é verdadeira.
- d) Somente as afirmativas IV e V são verdadeiras.
- e) Somente as afirmativas II e III são verdadeiras.
C (UDESC 2017) A figura a seguir mostra o gráfico de um campo magnético uniforme, em função do tempo, aplicado perpendicularmente ao plano de uma espira retangular de 0,50 m2 de área. O campo magnético é dado em militesla e o tempo em segundos.

Assinale a alternativa que corresponde aos valores absolutos da tensão induzida na espira, em milivolts, em cada intervalo de tempo, respectivamente.
- a) 6,0; 0,64; 0,00
- b) 1,0; 0,67; 0,43
- c) 3,0; 0,32; 0,00
- d) 1,4; 1,02; 0,00
- e) 0,8; 0,23; 1,94
2016
D (IMED 2016) Para a indução de corrente elétrica em um solenoide, é utilizado um ímã em barra. Para tanto, são testadas as seguintes possibilidades:
- Movimenta-se o ímã com velocidade constante, mantendo o solenoide próximo e parado.
- Gira-se o ímã com velocidade angular constante, mantendo o solenoide próximo e parado.
- Movimenta-se o solenoide com velocidade constante, mantendo o ímã próximo e parado.
- Movimenta-se ambos com velocidades iguais em módulo, direção e sentido.
Dessas possibilidades, quais podem gerar corrente elétrica no solenoide?
- a) Apenas I e II.
- b) Apenas II e IV.
- c) Apenas III e IV.
- d) Apenas I, II e III.
- e) Apenas I, III e IV.
A (UPE-SSA 3 2016) A eletricidade facilita a vida de muitas pessoas. A única desvantagem é a quantidade de fios com que se tem de lidar, se houver problemas: se você precisa desligar determinada tomada, pode ter que percorrer uma grande quantidade de fios até encontrar o fio certo.
Por isso, os cientistas tentaram desenvolver métodos de transmissão de energia sem fio, o que facilitaria o processo e lidaria com fontes limpas de energia. A ideia pode soar futurista, mas não é nova. Nicola Tesla propôs teorias de transmissão sem fio de energia, no fim dos anos 1800 e começo de 1900. Uma de suas demonstrações energizava remotamente lâmpadas no chão de sua estação de experimentos em Colorado Springs.
O trabalho de Tesla era impressionante, mas não gerou imediatamente métodos práticos de transmissão de energia sem fio. Desde então, os pesquisadores desenvolveram diversas técnicas para transferir eletricidade através de longas distâncias, sem utilizar fios. Algumas técnicas só existem em teoria ou protótipos, mas outras já estão em uso.
Fonte: http://ciencia.hsw.uol.com.br/eletricidade-sem-fio.htm (Adaptado)
Atualmente, muitos dispositivos eletrônicos têm suas baterias carregadas pelo processo de indução eletromagnética, baseado nos estudos realizados por Tesla há vários anos. Diversos celulares utilizam uma base que produz um campo magnético, capaz de atravessar uma espira resistiva instalada no celular. Um modelo simples é mostrado na figura a seguir. Sabendo que o campo da figura aponta para dentro do plano da página, que a área da espira é igual a 4,0 cm2 e que sua resistência é igual a 0,5 mΩ, determine a variação de campo magnético produzida pela base, para que uma corrente induzida de 140 mA atravesse a espira.
- a) 175 mT/s
- b) 350 mT/s
- c) 450 mT/s
- d) 525 mT/s
- e) 700 mT/s
C (ACAFE 2016) O carregador de celular é um dispositivo que consegue transferir energia elétrica da rede elétrica residencial para as baterias do aparelho. No entanto, para realizar essa transferência utiliza um equipamento bastante conhecido, o transformador. Na figura abaixo, recortamos o esquema do transformador de um carregador de celular que é igual à de qualquer transformador comum.
Considere a figura e assinale a alternativa correta que completa as lacunas da frase a seguir.
O princípio de funcionamento do transformador é __________. Com base na figura, deduzimos que a tensão do enrolamento da __________ é __________ que a tensão do enrolamento da __________.
- a) a indução eletromagnética – direita – igual – esquerda
- b) a indução eletrostática – esquerda – menor – direita
- c) a indução eletromagnética – esquerda – maior – direita
- d) a indução eletrostática – direita – maior – esquerda
A (UEFS 2016) Os ímãs, naturais ou artificiais, apresentam determinados fenômenos denominados de fenômenos magnéticos.
Sobre esses fenômenos, é correto afirmar:
- a) A Lei de Lenz estabelece que o sentido da corrente induzida é tal que se opõe à variação de fluxo magnético através de um circuito que a produziu.
- b) Os pontos da superfície terrestre que possuem inclinação magnética máxima pertencem a uma linha chamada Equador Magnético.
- c) Sob a ação exclusiva de um campo magnético, o movimento de uma carga elétrica é retilíneo e uniformemente acelerado.
- d) Nas regiões em que as linhas de indução estão mais próximas, o campo magnético é menos intenso.
- e) As linhas de indução são, em cada ponto, perpendiculares ao vetor indução magnética.
D (UCS 2016) A Costa Rica, em 2015, chegou muito próximo de gerar 100% de sua energia elétrica a partir de fontes de energias renováveis, como hídrica, eólica e geotérmica. A lei da Física que permite a construção de geradores que transformam outras formas de energia em energia elétrica é a lei de Faraday, que pode ser melhor definida pela seguinte declaração:
- a) toda carga elétrica produz um campo elétrico com direção radial, cujo sentido independe do sinal dessa carga.
- b) toda corrente elétrica, em um fio condutor, produz um campo magnético com direção radial ao fio.
- c) uma carga elétrica, em repouso, imersa em um campo magnético sofre uma força centrípeta.
- d) a força eletromotriz induzida em uma espira é proporcional à taxa de variação do fluxo magnético em relação ao tempo gasto para realizar essa variação.
- e) toda onda eletromagnética se torna onda mecânica quando passa de um meio mais denso para um menos denso.
B (EFOMM 2016) Uma espira condutora retangular rígida move-se, com velocidade vetorial v constante, totalmente imersa numa região na qual existe um campo de indução magnética B, uniforme, constante no tempo, e perpendicular ao plano que contém tanto a espira como seu vetor velocidade. Observa-se que a corrente induzida na espira é nula. Podemos afirmar que tal fenômeno ocorre em razão de o
- a) fluxo de B ser nulo através da espira.
- b) vetor B ser uniforme e constante no tempo
- c) vetor B ser perpendicular ao plano da espira.
- d) vetor B ser perpendicular a v.
- e) vetor v ser constante.
C (UFRGS 2016) Observe a figura abaixo que representa um anel condutor que cai verticalmente na direção de um fio fixo que conduz uma corrente elétrica i.

Assinale a alternativa que preenche corretamente as lacunas do enunciado abaixo, na ordem em que aparecem.
Considerando que o plano do anel e o fio são coplanares, conforme representa a figura, a corrente elétrica induzida no anel terá sentido …….. e a força magnética resultante sobre ela …….. .
- a) horário – aponta para o topo da página
- b) horário – aponta para o pé da página
- c) anti–horário–aponta para o topo da página
- d) anti–horário – aponta para o pé da página
- e) anti–horário – será nula
D (UDESC 2016) Com relação aos fenômenos eletromagnéticos, analise as proposições.
I. Corrente elétrica induzida, em um circuito fechado, por um campo magnético variável no tempo sempre gera um campo magnético que se opõe à mudança desse campo.
II. Correntes elétricas, em circuitos fechados, podem formar dipolos magnéticos, mas nunca monopolos magnéticos.
III. Ao dividir-se um ímã ao meio, formam-se dois monopolos magnéticos, um polo sul e outro polo norte.
IV. Força magnética atua em cargas elétricas em repouso e em movimento.
Assinale a alternativa correta:
- a) Somente as afirmativas II e III são verdadeiras.
- b) Somente as afirmativas I, III e IV são verdadeiras.
- c) Somente as afirmativas II e IV são verdadeiras.
- d) Somente as afirmativas I e II são verdadeiras.
- e) Somente as afirmativas I e IV são verdadeiras.
2015
C (ACAFE 2015) A principal aplicação da Indução Magnética, ou Eletromagnética, e a sua utilização na obtenção de energia. Podem-se produzir pequenas f.e.m. com um experimento bem simples. Considere uma espira quadrada com 0,4 m de lado que está totalmente imersa num campo magnético uniforme (intensidade B = 5,0 Wb/m2) e perpendicular as linhas de indução. Girando a espira até que ela fique paralela as linhas de campo.
Sabendo-se que a espira acima levou 0,2 segundos para ir da posição inicial para a final, a alternativa correta que apresenta o valor em módulo da f.e.m. induzida na espira, em volts, é:
- a) 1,6
- b) 8
- c) 4
- d) 0,16
A (IMED 2015) A lei da indução de Faraday é fundamental, por exemplo, para explicarmos o funcionamento de um dispositivo usado em usinas de energia elétrica: o dínamo. Trata-se de um equipamento eletromecânico que transforma energia mecânica nas usinas de energia em energia elétrica. Em relação a esse dispositivo, assinale a alternativa INCORRETA.
- a) Segundo a lei de Faraday, a quantidade de energia elétrica produzida por um dínamo pode ser superior à quantidade de energia mecânica que ele consome.
- b) A lei de Faraday é importante para explicar o funcionamento dos transformadores de tensão que usamos em nossas residências.
- c) É impossível construir um dínamo cujo único efeito seja produzir 200 J de energia elétrica consumindo somente 100 J de energia mecânica.
- d) A lei de Faraday relaciona o fluxo de um campo magnético, variando ao longo do tempo, a uma força eletromotriz induzida por essa variação.
- e) O dínamo é percorrido por uma corrente elétrica induzida quando rotaciona na presença de um campo magnético externo.
A (UFPR 2015) Michael Faraday foi um cientista inglês que viveu no século XIX. Através de suas descobertas foram estabelecidas as bases do eletromagnetismo, relacionando fenômenos da eletricidade, eletroquímica e magnetismo. Suas invenções permitiram o desenvolvimento do gerador elétrico, e foi graças a seus esforços que a eletricidade tornou-se uma tecnologia de uso prático. Em sua homenagem uma das quatro leis do eletromagnetismo leva seu nome e pode ser expressa como: ε = Δϕ/Δt, onde ε é a força eletromotriz induzida em um circuito, ϕ é o fluxo magnético através desse circuito e t é o tempo.
Considere a figura abaixo, que representa um ímã próximo a um anel condutor e um observador na posição O. O ímã pode se deslocar ao longo do eixo do anel e a distância entre o polo norte e o centro do anel é d. Tendo em vista essas informações, identifique as seguintes afirmativas como verdadeiras (V) ou falsas (F):
( ) Mantendo-se a distância d constante se observará o surgimento de uma corrente induzida no anel no sentido horário.
( ) Durante a aproximação do ímã à espira, observa-se o surgimento de uma corrente induzida no anel no sentido horário.
( ) Durante o afastamento do ímã em relação à espira, observa-se o surgimento de uma corrente induzida no anel no sentido horário.
( ) Girando-se o anel em torno do eixo z, observa-se o surgimento de uma corrente induzida.
Assinale a alternativa que apresenta a sequência correta, de cima para baixo.
- a) F – F – V – V.
- b) F – V – F – V.
- c) V – V – F – F.
- d) V – F – V – V.
- e) F – F – V – F.
C (IFSUL 2015) A figura abaixo mostra um pêndulo com uma placa de cobre presa em sua extremidade.
Esse pêndulo pode oscilar livremente, mas, quando a placa de cobre é colocada entre os polos de um imã forte, ele para de oscilar rapidamente.
Com base nas informações fornecidas acima, pode-se afirmar que isso ocorre porque
- a) a placa de cobre fica ionizada.
- b) a placa de cobre fica eletricamente carregada.
- c) correntes elétricas são induzidas na placa de cobre.
- d) os átomos do cobre ficam eletricamente polarizados.
D (FMABC 2015) Um circuito constituído de uma espira quadrada, fixa e de lados iguais a 8 cm, é atravessada por linhas de indução magnética, conforme indicado na figura. O vetor campo magnético B tem direção constante e, inicialmente, apresenta uma intensidade de 0,6 T. Durante um intervalo de tempo de 2 s, a intensidade do campo magnético é diminuída para 0,2 T. Assim,
podemos afirmar que a força eletromotriz induzida média, nesse intervalo de tempo, corresponde, em milivolt (mV), aproximadamente, a:
Dados: cos θ = 0,8 e sen θ = 0,6
- a) 0,95
- b) 1,50
- c) 1,89
- d) 1,02
- e) 0,73
2014
E (UPE 2014) Uma bobina, formada por 5 espiras que possui um raio igual a 3,0 cm é atravessada por um campo magnético perpendicular ao plano da bobina.
Se o campo magnético tem seu módulo variado de 1,0 T até 3,5 T em 9,0 ms, é CORRETO afirmar que a força eletromotriz induzida foi, em média, igual a
- a) 25 mV
- b) 75 mV
- c) 0,25 V
- d) 1,25 V
- e) 3,75 V
D (UFSM 2014) A tecnologia das grandes usinas hidroelétricas depende de extensas linhas de transmissão. As linhas de transmissão usualmente transportam energia elétrica em __________ tensão. O transformador é um dispositivo que permite transformar baixa tensão e __________ corrente em alta tensão e __________ corrente e vice-versa. No transformador, o fluxo magnético associado ao campo criado pela corrente __________ no primário gera uma corrente no secundário, conforme a lei de Faraday.
A alternativa que completa, corretamente, as lacunas é
- a) alta – alta – baixa – contínua.
- b) alta – baixa – alta – alternada.
- c) baixa – baixa – baixa – contínua.
- d) alta – alta – baixa – alternada.
- e) baixa – baixa – alta – contínua.
2013
B (ESCOLA NAVAL 2013) Analise a figura a seguir.
O gráfico da figura acima registra a variação do fluxo magnético, ϕ, através de uma bobina ao longo de 5 segundos. Das opções a seguir, qual oferece o gráfico da f.e.m induzida, ε, em função do tempo?
A (UFTM 2013) Uma espira metálica é posicionada horizontalmente e em repouso em relação à Terra, de modo que o eixo vertical y, indicado na
figura, seja perpendicular ao plano que a contém e passe por seu centro C. Um ímã cilíndrico está inicialmente parado em relação à espira, com seu eixo coincidindo com o mesmo eixo y.
Surgirá uma corrente elétrica induzida na espira caso ela
- a) mova-se com velocidade constante de 2 m/s e o ímã mova-se com velocidade constante de 1 m/s, ambos na direção e no sentido do eixo y.
- b) gire em torno do eixo y num determinado sentido e o ímã gire no sentido contrário, em torno do mesmo eixo.
- c) e o ímã comecem a se mover simultaneamente e a partir do repouso, com mesma aceleração constante de 0,5 m/s2, na direção e no sentido do eixo y.
- d)) gire em torno do eixo y e o ímã permaneça parado em relação a ele.
- e) e o ímã movam-se com a mesma velocidade constante de 1 m/s, na direção e no sentido do eixo y.
2012
A (UEL 2012) Em uma usina hidrelétrica, a água do reservatório é guiada através de um duto para girar o eixo de uma turbina. O movimento mecânico do eixo, no interior da estrutura do gerador, transforma a energia mecânica em energia elétrica que chega até nossas casas. Com base nas informações e nos conhecimentos sobre o tema, é correto afirmar que a produção de energia elétrica em uma usina hidrelétrica está relacionada
- a) à indução de Faraday.
- b) à força de Coulomb.
- c) ao efeito Joule.
- d) ao princípio de Arquimedes.
- e) ao ciclo de Carnot.
A (UNESP 2012) O freio eletromagnético é um dispositivo no qual interações eletromagnéticas provocam uma redução de velocidade num corpo em movimento, sem a necessidade da atuação de forças de atrito. A experiência descrita a seguir ilustra o funcionamento de um freio eletromagnético.
Na figura 1, um ímã cilíndrico desce em movimento acelerado por dentro de um tubo cilíndrico de acrílico, vertical, sujeito apenas à ação da força peso. Na figura 2, o mesmo ímã desce em movimento uniforme por dentro de um tubo cilíndrico, vertical, de cobre, sujeito à ação da força peso e da força magnética, vertical e para cima, que surge devido à corrente elétrica induzida que circula pelo tubo de cobre, causada pelo movimento do ímã por dentro dele. Nas duas situações, podem ser desconsiderados o atrito entre o ímã e os tubos, e a resistência do ar
Considerando a polaridade do ímã, as linhas de indução magnética criadas por ele e o sentido da corrente elétrica induzida no tubo condutor de cobre abaixo do ímã, quando este desce por dentro do tubo, a alternativa que mostra uma situação coerente com o aparecimento de uma força magnética vertical para cima no ímã é a indicada pela letra
2011
C (UDESC 2011) A Figura ilustra uma espira condutora circular, próxima de um circuito elétrico inicialmente percorrido por uma corrente “i” constante; “S” é a chave desse circuito.
- a) haverá corrente elétrica constante na espira enquanto a chave “S” for mantida fechada.
- b) não haverá uma corrente elétrica na espira quando ela se aproximar do circuito, enquanto a chave “S” estiver fechada.
- c) haverá uma corrente elétrica na espira quando a chave “S” for repentinamente aberta.
- d) haverá corrente elétrica constante na espira quando a chave “S” estiver aberta e assim permanecer.
- e) haverá uma corrente elétrica constante na espira quando ela for afastada do circuito, após a chave “S” ter sido aberta.
D (UFRGS 2011) Observe a figura abaixo.
Esta figura representa dois circuitos, cada um contendo uma espira de resistência elétrica não nula. O circuito A está em repouso e é alimentado por uma fonte de tensão constante V. O circuito B aproxima-se com velocidade constante de módulo v, mantendo-se paralelos os planos das espiras. Durante a aproximação, uma força eletromotriz (f.e.m.) induzida aparece na espira do circuito B, gerando uma corrente elétrica que é medida pelo galvanômetro G.
Sobre essa situação, são feitas as seguintes afirmações.
- A intensidade da f.e.m. induzida depende de v.
- A corrente elétrica induzida em B também gera campo magnético.
- O valor da corrente elétrica induzida em B independe da resistência elétrica deste circuito.
Quais estão corretas?
- a) Apenas I.
- b) Apenas II.
- c) Apenas III.
- d) Apenas I e II.
- e) I, II e III.
C (UFRN 2011) O inglês Michael Faraday (1791 – 1867) pode ser considerado um dos mais influentes cientistas de todos os tempos e seus trabalhos científicos ainda hoje têm repercussão na sociedade científico-tecnológica.
Um dos mais importantes desses trabalhos é a lei de indução eletromagnética que leva seu nome – Lei de Faraday –, que trata de uma situação experimental envolvendo o ímã e uma espira. Essa Lei pode ser enunciada como: “a força eletromotriz induzida em uma espira fechada é proporcional à variação do fluxo magnético que a atravessa e inversamente proporcional ao intervalo de tempo em que ocorre essa variação”.
Em relação à Lei referida no texto, é correto afirmar que a força eletromotriz induzida na espira
- a) depende do produto da variação do fluxo magnético através da espira pelo intervalo de tempo.
- b) não depende do movimento relativo entre o imã e a espira.
- c) depende do movimento relativo entre o imã e a espira.
- d) não depende da razão entre a variação do fluxo magnético através da espira pelo intervalo de tempo.
2010
E (FUVEST 2010) Aproxima-se um ímã de um anel metálico fixo em um suporte isolante, como mostra a figura. O movimento do ímã, em direção ao anel,
- a) não causa efeitos no anel.
- b) produz corrente alternada no anel.
- c) faz com que o polo sul do ímã vire polo norte e vice versa.
- d) produz corrente elétrica no anel, causando uma força de atração entre anel e ímã.
- e) produz corrente elétrica no anel, causando uma força de repulsão entre anel e ímã.
C (UDESC 2010) Na figura a seguir está representada uma espira quadrada de lado igual a 10,0 cm, situada no interior de um campo magnético uniforme B, perpendicular ao plano do papel e dirigido para dentro do papel, cuja intensidade é 0,50 Weber/m2. O plano formado pela espira é paralelo ao papel. Quando o campo magnético tem seu sentido completamente invertido, surge na espira uma força eletromotriz induzida de 5,0 V.
O intervalo de tempo médio utilizado para inverter completamente o sentido do campo magnético, neste caso, é:
- a) 1,0 x 10-4 s
- b) 1,0 x 10-3 s
- c) 2,0 x 10-3 s
- d) 10 s
- e) zero
A (CFTMG 2010) O circuito da figura a seguir é composto de uma bateria ε, um resistor R e uma chave S. Ao fechar a chave, instantaneamente, aparecerá uma corrente induzida nas espiras retangulares A e B.
Os sentidos dessa corrente em A e B, respectivamente, são
- a) horário e horário.
- b) horário e anti-horário.
- c) anti-horário e horário.
- d) anti-horário e anti-horário.
E (UFT 2010) Com relação ao fenômeno da indução eletromagnética:
- Foi descoberto experimentalmente por M. Faraday
- Uma força eletromotriz (f.e.m.) é sempre induzida em um laço condutor fechado quando o fluxo magnético que o atravessa varia.
- A f.e.m. induzida neste laço causa a aparição de uma corrente induzida.
Podemos afirmar que:
- a) Nenhuma das afirmações está correta.
- b) Apenas a afirmação I está correta.
- c) Apenas as afirmações I e II estão corretas.
- d) Apenas as afirmações I e III estão corretas.
- e) Todas as afirmações estão corretas.
B (FGV 2010) Grandes relógios, que também indicam a temperatura, compõem a paisagem metropolitana. Neles, cada dígito apresentado é formado pela combinação de sete plaquetas móveis. Ao observar um desses relógios, uma pessoa constata que cada plaqueta está próxima de um eletroímã, mas, não consegue descobrir qual seria o elemento “X” presente em uma plaqueta para que essa pudesse ser armada ou desarmada por ação magnética.
Pensando nas possíveis configurações para que, na inexistência de molas, uma plaqueta arme ou desarme adequadamente, essa pessoa imaginou que o elemento “X” pudesse ser:
- Um corpo feito de um material ferromagnético. Quando a corrente elétrica flui de A para B, o mecanismo é armado e, quando a corrente elétrica flui de B para A, o mecanismo é desarmado;
- Um ímã permanente, com seu polo Norte voltado para o eletroímã, quando a plaqueta está “em pé”, como no momento em que está armada. Quando a corrente elétrica flui de A para B, o mecanismo é armado e, quando a corrente elétrica flui de B para A, o mecanismo é desarmado;
- Um ímã permanente com seu polo Norte voltado para o eletroímã, quando a plaqueta está “em pé”, como no momento em que está armada. Quando a corrente elétrica flui de B para A, o mecanismo é armado e, quando a corrente elétrica flui de A para B, o mecanismo é desarmado;
- Outra bobina, idêntica e montada na mesma posição em que se encontra a primeira quando a plaqueta está “em pé”, como no momento em que está armada, tendo seu terminal A, unido ao terminal A da bobina do eletroímã, e seu terminal B, unido ao terminal B da bobina do eletroímã. Quando a corrente elétrica flui de A para B, o mecanismo é armado e, quando a corrente elétrica flui de B para A, o mecanismo é desarmado.
Das suposições levantadas por essa pessoa, está correto o indicado por
- a) I, apenas.
- b) III, apenas.
- c) II e IV, apenas.
- d) I, III e IV, apenas.
- e) I, II, III e IV.
A (UFRN 2010) O relé é um dispositivo elétrico constituído de uma bobina dotada de um núcleo de ferro doce, a qual, ao ser percorrida por uma corrente elétrica contínua, aciona uma alavanca de ferro, permitindo ligar os contatos elétricos de um circuito externo, representados por A e B nas Figuras I e II, abaixo.
A alavanca de ferro é atraída pelo núcleo, porque, quando a bobina é percorrida por uma corrente,
- a) é gerado um campo magnético no núcleo da bobina, o qual atrai a alavanca.
- b) induz uma força eletromotriz, que atrai a alavanca.
- c) é gerado um campo elétrico no núcleo da bobina, o qual atrai a alavanca.
- d) induz cargas elétricas que atraem a alavanca.
2009
2008
2007
2006
2005
C (Pucpr 2005) Um ímã natural está próximo a um anel condutor, conforme a figura.
Considere as proposições:
- Se existir movimento relativo entre eles, haverá variação do fluxo magnético através do anel e corrente induzida.
- Se não houver movimento relativo entre eles, existirá fluxo magnético através do anel, mas não corrente induzida.
- O sentido da corrente induzida não depende da aproximação ou afastamento do ímã em relação ao anel.
Estão corretas:
- a) todas
- b) somente III
- c) somente I e II
- d) somente I e III
- e) somente II e III
a) 1,2 x 10-5 V; b) 1,5 x 102 A. (Unicamp 2005) O princípio de funcionamento dos detectores de metais utilizados em verificações de segurança é baseado na lei de indução de Faraday. A força eletromotriz induzida por um fluxo de campo magnético variável através de uma espira gera uma corrente. Se um pedaço de metal for colocado nas proximidades da espira, o valor do campo magnético será alterado, modificando a corrente na espira. Essa variação pode ser detectada e usada para reconhecer a presença de um corpo metálico nas suas vizinhanças.
a) Considere que o campo magnético B atravessa perpendicularmente a espira e varia no tempo segundo a figura. Se a espira tem raio de 2 cm, qual é a força eletromotriz induzida?
b) A espira é feita de um fio de cobre de 1mm de raio e a resistividade do cobre é ρ = 2 x 10-8 ohm.metro. A resistência de um fio é dada por R = ρL/A, onde L é o seu comprimento e A é a área da sua seção reta. Qual é a corrente na espira?
2004
2003
C (Ufv 2003) Próximo a um fio percorrido por uma corrente i são colocadas três espiras A, B e C, como mostra a figura a seguir.
Se a corrente no fio aumenta com o tempo, pode-se afirmar que o sentido da corrente induzida nas espiras A, B e C, respectivamente, são:
- a) anti-horário, anti-horário e horário.
- b) anti-horário, anti-horário e anti-horário.
- c) horário, horário e anti-horário.
- d) anti-horário, horário e anti-horário.
- e) horário, horário e horário.
2002
2001
(02+04=06) (Ufpr 2001) Sabe-se que em um transformador não há, necessariamente, ligação elétrica entre o condutor do enrolamento primário e o do secundário. Entretanto, a energia elétrica é transmitida do primário para o secundário. A partir destes fatos e dos conhecimentos sobre eletromagnetismo, é correto afirmar:
- 01) A corrente elétrica do enrolamento secundário não influi no funcionamento do primário.
- 02) O transformador só funciona com corrente elétrica variável.
- 04) É a variação do fluxo do campo magnético nos enrolamentos que permite a transmissão da energia elétrica.
- 08) A diferença de potencial nos terminais do enrolamento secundário é sempre menor que a diferença de potencial nos terminais do primário.
- 16) A corrente elétrica é sempre a mesma nos enrolamentos primários e secundário.
B (Unesp 2001) A figura representa uma das experiências de Faraday que ilustram a indução eletromagnética, em que å é uma bateria de tensão constante, K é uma chave, B1 e B2 são duas bobinas enroladas num núcleo de ferro doce e G é um galvanômetro ligado aos terminais de B2 que, com o ponteiro na posição central, indica corrente elétrica de intensidade nula.
Quando a chave K é ligada, o ponteiro do galvanômetro se desloca para a direita e
- a) assim se mantém até a chave ser desligada, quando o ponteiro se desloca para a esquerda por alguns instantes e volta à posição central.
- b) logo em seguida volta à posição central e assim se mantém até a chave ser desligada, quando o ponteiro se desloca para a esquerda por alguns instantes e volta à posição central.
- c) logo em seguida volta à posição central e assim se mantém até a chave ser desligada, quando o ponteiro volta a se deslocar para a direita por alguns instantes e volta à posição central.
- d) para a esquerda com uma oscilação de frequência e amplitude constantes e assim se mantém até a chave ser desligada, quando o ponteiro volta à posição central.
- e) para a esquerda com uma oscilação cuja frequência e amplitude se reduzem continuamente até a chave ser desligada, quando o ponteiro volta à posição central.
E (Ufscar 2001) No final do século XIX, uma disputa tecnológica sobre qual a corrente elétrica mais adequada para transmissão e distribuição da energia elétrica, gerada em usinas elétricas, tornou clara a vantagem do uso da corrente alternada, em detrimento da corrente contínua. Um dos fatores decisivos para essa escolha foi a possibilidade da utilização de transformadores na rede de distribuição de eletricidade. Os transformadores podem aumentar ou diminuir a tensão a eles fornecida, permitindo a adequação dos valores da intensidade da corrente transmitida e reduzindo perdas por efeito Joule, MAS SÓ FUNCIONAM EM CORRENTE ALTERNADA. O princípio físico em que se baseia o funcionamento dos transformadores e a característica da corrente alternada que satisfaz a esse princípio são, respectivamente,
- a) a conservação da carga e o movimento oscilante dos portadores de carga elétrica.
- b) a indução eletrostática e o movimento contínuo dos portadores de carga elétrica.
- c) a indução eletrostática e o movimento oscilante dos portadores de carga elétrica.
- d) a indução eletromagnética e o movimento contínuo de portadores de carga elétrica.
- e) a indução eletromagnética e o movimento oscilante dos portadores de carga elétrica.
D (Ita 2001) Uma barra metálica de comprimento L=50,0cm faz contato com um circuito, fechando-o. A área do circuito é perpendicular ao campo de indução magnética uniforme B. A resistência do circuito é R = 3,00 Ω, sendo de 3,75 x 10-3 N a intensidade da força constante aplicada à barra, para mantê-la em movimento uniforme com velocidade v = 2,00 m/s. Nessas condições, o modulo de B é:
- a) 0,300 T
- b) 0,225 T
- c) 0,200 T
- d) 0,150 T
- e) 0,100 T
(04+01 =05) (Uepg 2001) Sobre um transformador ideal em que o número de espiras do enrolamento secundário é menor que o do enrolamento primário, assinale o que for correto.
- 01) A potência elétrica na entrada do enrolamento primário desse transformador é igual à potência elétrica na saída do enrolamento secundário.
- 02) Se ligarmos os terminais do enrolamento primário a uma bateria de 12 V, teremos uma ddp menor no enrolamento secundário.
- 04) A energia no enrolamento primário é igual à energia no enrolamento secundário, caracterizando o princípio da conservação de energia.
- 08) As correntes nos enrolamentos primário e secundário desse transformador são iguais.
- 16) A transferência de potência do enrolamento primário para o enrolamento secundário não ocorre por indução.
C (Pucrs 2001) O fenômeno da indução eletromagnética é usado para gerar praticamente toda a energia elétrica que empregamos. Supondo-se um condutor em forma de espira retangular contido num plano, uma corrente elétrica é induzida através dele quando ele é submetido a um campo
- a) magnético variável e paralelo ao plano do condutor.
- b) magnético constante e perpendicular ao plano do condutor.
- c) magnético variável e não-paralelo ao plano do condutor.
- d) elétrico constante e paralelo ao plano do condutor.
- e) elétrico constante e perpendicular ao plano do condutor.
a) 8 x 105 Wb.b) 1,6 x 102 A (Ufg 2001) Considere uma região do espaço em que a intensidade do campo magnético esteja variando em função do tempo, como mostrado no gráfico. Uma espira de área A = 8,0 cm2 e resistência R = 5,0 mΩ é colocada nessa região, de tal maneira que as linhas de campo sejam normais ao plano dessa espira.
a) Determine o fluxo magnético através da espira, em função do tempo.
b) Calcule a corrente induzida na espira.
1998
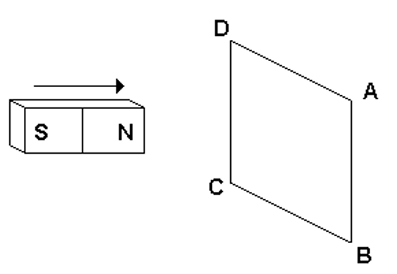
E (Uel 1998) Um ímã, em forma de barra, atravessa uma espira condutora retangular ABCD, disposta verticalmente, conforme a figura a seguir.
Nessas condições, é correto afirmar que, na espira,
- a) não aparecerá corrente elétrica induzida nem quando o ímã se aproxima e nem quando se afasta da espira.
- b) tem-se um corrente elétrica induzida, no sentido de A para B, apenas quando o ímã se aproxima da espira.
- c) tem-se uma corrente elétrica induzida, no sentido de A para B, tanto quando o ímã se aproxima como quando se afasta da espira.
- d) tem-se uma corrente elétrica induzida, no sentido de B para A, tanto quando o ímã se aproxima como quando se afasta da espira.
- e) tem-se um corrente elétrica induzida, no sentido de A para B, apenas quando o ímã se afasta de espira.
1994
A (Ufmg 1994) Nessa figura, representa-se um ímã prismático, com seu polo norte voltado para baixo. Esse ímã foi abandonado e cai passando pelo centro de uma espira circular situada em um plano horizontal.
Sejam i1 e i2, respectivamente, as correntes na espira quando o ímã se aproxima e quando se afasta dela.
Sobre as correntes na espira, pode-se afirmar que
- a) i1 está no sentido MNP, e i2, no sentido MPN.
- b) i1 está no sentido MPN, e i2, no sentido MNP.
- c) i1 está no sentido MNP, e i2 é nula.
- d) i1 e i2 estão ambas no sentido MNP.
- e) i1 e i2 estão ambas no sentido MPN.
























