CAIU NO ENEM!
CAIU NO VESTIBULAR!
2018
C (UFRGS 2018) A figura mostra três trajetórias, 1, 2 e 3, através das quais um corpo de massa m, no campo gravitacional terrestre, é levado da posição inicial i para a posição final f, mais abaixo.
Sejam W1, W2 e W3, respectivamente, os trabalhos realizados pela força gravitacional nas trajetórias mostradas.
Assinale a alternativa que correlaciona corretamente os trabalhos realizados.
- a) W1 < W2 < W3
- b) W1 < W2 = W3
- c) W1 = W2 = W3
- d) W1 = W2 > W3
- e) W1 > W2 > W3
2017
C (MACKENZIE 2017) Na olimpíada Rio 2016, nosso medalhista de ouro em salto com vara, Thiago Braz, de 75,0 kg, atingiu a altura de 6,03 m, recorde mundial, caindo a 2,80 m do ponto de apoio da vara. Considerando o módulo da aceleração da gravidade g = 10,0 m/s2, o trabalho realizado pela força peso durante a descida foi aproximadamente de
- a) 2,10 kJ
- b) 2,84 kJ
- c) 4,52 kJ
- d) 4,97 kJ
- e) 5,10 kJ
2016
B (FACULDADE DE MEDICINA ALBERT EINSTEIN 2016) A imagem abaixo é de uma cama hospitalar manual com três manivelas acopladas ao leito, que permitem diversos tipos de elevações. Com base na descrição do fabricante, determine o módulo aproximado da força, supostamente constante, exercida por uma pessoa que desenvolve uma potência de 38,5 W, na extremidade da manivela central,responsável pela elevação horizontal do leito, para que consiga elevar uma pessoa com massa correspondente ao máximo suportado na especificação, desde a altura mínima até a altura máxima. Sabe-se que cada volta completa, de perímetro igual a 1,8 m, corresponde a uma elevação de 70 mm.
Dado: Módulo da aceleração da gravidade (g) = 10 m.s-2.
- a) 38,5 N
- b) 42,8 N
- c) 110,0 N
- d) 385,0 N
C (UNICAMP 2016) Músculos artificiais feitos de nanotubos de carbono embebidos em cera de parafina podem suportar até duzentas vezes mais peso que um músculo natural do mesmo tamanho. Considere uma fibra de músculo artificial de 1 mm de comprimento, suspensa verticalmente por uma de suas extremidades e com uma massa de 50 gramas pendurada, em repouso, em sua outra extremidade. O trabalho realizado pela fibra sobre a massa, ao se contrair 10%, erguendo a massa até uma nova posição de repouso, é
- a) 5 x 10-3 J.
- b) 5 x 10-4 J.
- c) 5 x 10-5 J.
- d) 5 x 10-6 J.
Se necessário, utilize g = 10 m/s2.
2015
B (UNICAMP 2015) Qual o trabalho executado pela força de atrito entre o pneu e o solo para parar um carro de massa m = 1000 kg inicialmente a v = 20 m/s sabendo que os pneus travam no instante da frenagem, deixando de girar, e o carro desliza durante todo o tempo de frenagem?
- a) 3,6 x 104 J.
- b) 2,0 x 105 J.
- c) 4,0 x 105 J.
- d) 2,6 x 106 J.
2014
B (UECE 2014) Uma bola está inicialmente presa ao teto no interior de um vagão de trem que se move em linha reta na horizontal e com velocidade constante. Em um dado instante, a bola se solta e cai sob a ação da gravidade. Para um observador no interior do vagão, a bola descreve uma trajetória vertical durante a queda, e para um observador parado fora do vagão, a trajetória é um arco de parábola. Assim, o trabalho realizado pela força peso durante a descida da bola é
- a) maior para o observador no solo.
- b) diferente de zero e com mesmo valor para ambos os observadores.
- c) maior para o observador no vagão.
- d) zero para ambos os observadores.
2012
E (IFCE 2012) Uma pessoa sobe um lance de escada, com velocidade constante, em 1,0 min. Se a mesma pessoa subisse o mesmo lance, também com velocidade constante em 2,0 min, ela realizaria um trabalho
- a) duas vezes maior que o primeiro.
- b) duas vezes menor que o primeiro.
- c) quatro vezes maior que o primeiro.
- d) quatro vezes menor que o primeiro.
- e) igual ao primeiro.
A (FEI 2012-1) Para a construção de um estádio novo para a Copa de 2014, estão sendo usadas vigas pré-moldadas de concreto de massa m = 5 000 kg. Estas vigas serão elevadas por guindaste desde o chão até a altura de 30 m, onde serão apoiadas sobre pilares pré-existentes. Qual é o trabalho que o guindaste deverá fazer para elevar cada viga? Dado: MJ = 1.000.000 J.
- a) 1,50 MJ
- b) 2,00 MJ
- c) 3,00 MJ
- d) 0,75 MJ
- e) 5,00 MJ
C (MACKENZIE 2012) Certo corpo de massa 10,0 kg está suspenso por uma pequena argola, que pode deslizar, sem atrito, por um fio, supostamente ideal. Em uma primeira situação, o corpo encontra-se na posição ilustrada na figura 1 e, depois de certo tempo, encontra-se na posição ilustrada na figura 2. O trabalho realizado pela força peso, entre a posição 1 e a posição 2, foi:
CONSIDERE: g = 10 m/s2; √6 ≅ 2,45
- a) 2,40. 10–1 J
- b) 2,45. 10–1 J
- c) 5,00. 10–1 J
- d) 2,40 J
- e) 2,45 J
2011
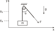
A (FUVEST 2011) Usando um sistema formado por uma corda e uma roldana, um homem levanta uma caixa de massa m, aplicando na corda uma força F que forma um ângulo θ com a direção vertical, como mostra a figura. O trabalho realizado pela resultante das forças que atuam na caixa – peso e força da corda -, quando o centro de massa da caixa é elevado, com velocidade constante v, desde a altura ya até a altura yb, é:
- a) nulo.
- b) F (yb – ya).
- c) mg (yb – ya).
- d) F cos (yb – ya).
- e) mg (yb – ya) + mv2/2.
C (IFCE 2011) Um bloco de massa igual a 10 kg é empurrado, a partir do repouso, por uma força resultante constante de 10 N, que atua na mesma direção do movimento. O trabalho realizado pela força e a velocidade desse bloco, após percorrer 12,5 metros, valem, respectivamente,
- a) 100 J e 125 m/s.
- b) 125 J e 100 m/s.
- c) 125 J e 5 m/s.
- d) 100 J e 5 m/s.
- e) 5 J e 125 m/s.
C (Espcex (Aman) 2011) Um bloco, puxado por meio de uma corda inextensível e de massa desprezível, desliza sobre uma superfície horizontal com atrito, descrevendo um movimento retilíneo e uniforme. A corda faz um ângulo de 53° com a horizontal e a tração que ela transmite ao bloco é de 80 N. Se o bloco sofrer um deslocamento de 20 m ao longo da superfície, o trabalho realizado pela tração no bloco será de:
(Dados: sen 53° = 0,8 e cos 53° = 0,6)
- a) 480 J
- b) 640 J
- c) 960 J
- d) 1280 J
- e) 1600 J
A (UPE 2011) Considere um bloco de massa m ligado a uma mola de constante elástica k = 20 N/m, como mostrado na figura a seguir. O bloco encontra-se parado na posição x = 4,0 m. A posição de equilíbrio da mola é x = 0.
O gráfico a seguir indica como o módulo da força elástica da mola varia com a posição x do bloco.
O trabalho realizado pela força elástica para levar o bloco da posição x = 4,0 m até a posição x = 2,0, em joules, vale
- a) 120
- b) 80
- c) 40
- d) 160
- e) – 80
2010
B (CFTSC 2010) A ilustração abaixo representa um bloco apoiado sobre uma superfície horizontal com atrito, puxado por uma força F com velocidade constante.
Com base na ilustração acima e na situação descrita no enunciado, é correto afirmar que:
- a) o trabalho realizado pela força F é nulo.
- b) o trabalho total realizado sobre o bloco é nulo.
- c) o trabalho realizado pela força de atrito f é nulo.
- d) o trabalho realizado pela força de atrito f é positivo.
- e) o trabalho realizado pela força F é igual à variação da energia cinética do bloco.
B (UECE 2010) Em um corredor horizontal, um estudante puxa uma mochila de rodinhas de 6 kg pela haste, que faz 60o com o chão. A força aplicada pelo estudante é a mesma necessária para levantar um peso de 1,5 kg, com velocidade constante. Considerando a aceleração da gravidade igual a 10 m/s2, o trabalho, em Joule, realizado para puxar a mochila por uma distância de 30 m é
- a) zero.
- b) 225,0.
- c) 389,7.
- d) 900,0.
E (PUC RJ 2010) O Cristo Redentor, localizado no Corcovado, encontra-se a 710 m do nível no mar e pesa 1.140 ton. Considerando-se g = 10 m/s2, é correto afirmar que o trabalho total realizado para levar todo o material que compõe a estátua até o topo do Corcovado foi de, no mínimo: (Dado: 1 ton = 1000 kg)
- a) 114.000 kJ
- b) 505.875 kJ
- c) 1.010.750 kJ
- d) 2.023.500 kJ
- e) 8.094.000 kJ
2003
D (Unesp 2003) Uma força atuando em uma caixa varia com a distância x de acordo com o gráfico.
O trabalho realizado por essa força para mover a caixa da posição x = 0 até a posição x = 6 m vale
- a) 5 J.
- b) 15 J.
- c) 20 J.
- d) 25 J.
- e) 30 J.
2002
C (UNIFESP 2002) O pequeno bloco representado na figura desce o plano inclinado com velocidade constante.
Isso nos permite concluir que
- a) não há atrito entre o bloco e o plano e que o trabalho do peso do bloco é nulo.
- b) há atrito entre o bloco e o plano, mas nem o peso do bloco nem a força de atrito realizam trabalho sobre o bloco.
- c) há atrito entre o bloco e o plano, mas a soma do trabalho da força de atrito com o trabalho do peso do bloco é nula.
- d) há atrito entre o bloco e o plano, mas o trabalho da força de atrito é maior que o trabalho do peso do bloco.
- e) não há atrito entre o bloco e o plano; o peso do bloco realiza trabalho, mas não interfere na velocidade do bloco.






